CEL-GPRT100鼎式光催化反应釜,主要用于气固、气液光催化反应,可以应用到CO2还原、VOC降解、气体污染物降解、光催化固氮等多相、均相体系,适用各种催化剂体系,催化剂可以是粉末、液体、膜材料、片状或块状等形态。鼎式光催化反应釜主要配合300W、500W光催化氙灯光源、100W大功率LED光源使用,可以配合CEL-GPPC系列气相催化系统和GC7920反控气相色谱搭建气相光催化反应测试分析系统。


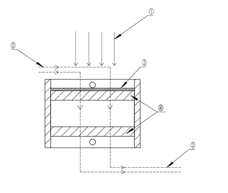
新型的鼎式反应釜可实现,光路1由上向下照射,气路2由侧面进入通过催化剂3、双层玻璃砂板4,然后从底部排出反应后的气体,进而采样进入相应的监测分析设备。
CEL-GPRT100鼎式光催化反应釜产品特点
1.采用法兰密封结构,拆卸简单。
2.进出口管路处采用快装接头与外部气路连接,在保证密封的前提下使安装拆卸更加方便。
3.可以实现定时定量的加入需要的反应气体。
4.可以实现反应中的在线连续取气体样品,配合全自动进样器,实现无人全自动分析。
5.通光孔采用超硬合成石英,即保证产品的安全,又实现了200-2500nm全光谱透过透光率达95%以上。
6.反应釜标配水路接口,可以根据实验要求进行加热或冷却,使其温度恒定。
7.反应釜与外部连接处皆为卡套连接,密封好,安装方便。
技术参数
| 项目 | 参数 |
| CEL-GPRT100 | 鼎式光催化反应釜 |
| 耐压 | 2MPa |
| 密封 | 法兰O型圈密封 |
| 通光窗口 | 石英玻璃、直径52mm |
| 釜体外径*高度 | 106mm*78mm |
| 釜体材质 | 体成型加工、316L不锈钢 |
| 釜体夹层控温 | 可水浴或油浴循环恒温,10mm接头 |
| 阀门 | 采用美国anlok针阀、球阀、接头、管路,3mm管路接头、快速插拔 接头 |
| 温度 | 标配温度显示表头,实时监控反应温度 |
| 内置 | 气固反应支架2个;气液反应配件2个 |





沪公网安备31012002005808



